Infineon Technologies TLE8080EMエンジン管理IC(小型エンジン用)
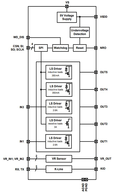
Infineon Technologies TLE8080EMエンジン管理IC(小型エンジン用)は、Infineonのスマートパワー技術(SPT)を使用して製造されています。このICは、組み込み保護機能によって保護されています。電源は、エンジン管理システムでKライン、SPI、可変リラクタンスセンサーインターフェイス、パワーステージと併用して、さまざまな負荷を駆動することを目的としています。TLE8080EMは、コンパクトでコスト最適化されたソリューションで、エンジン管理システム用です。このICは、シリンダ・モータサイクル1台のエンジン管理システムに非常に適しています。特徴
- 供給5V(+/-2%)、250mA
- Kライントランシーバ(ISO 9141)
- シリアルペリフェラルインターフェイス(SPI)
- 誘導負荷用の4つのローサイドドライバで、過温度と過電流保護ならびにオフ診断でのGNDに対する負荷/ショートを装備:
- 最大動作2.6Aのローサイドスイッチ2個
- 最大動作350mAのローサイドスイッチ2個
- 過熱および過電流保護を含む3Aの最大動作電流がある抵抗性負荷用ローサイドドライバ1台
- 過熱および過電流保護を含む3A
- 構成可能な可変リラクタンス・センサ・インターフェイス
- リセット出力および5V低電圧検出
- 監視
- 環境配慮型製品(RoHS準拠)
- AEC認定
ブロック図
公開: 2018-06-18
| 更新済み: 2022-08-08
