Microchip Technology 24CS512 3.4MHz I2CシリアルEEPROM
Microchip Technology 24CS512 3.4MHz I2CシリアルEEPROMは、512KビットのシリアルEEPROMを実現しており、I2C(2線式)シリアルインターフェイスが活用されています。3.4MHz高速モード機能があります。デバイスは、65,536バイトの8ビット (64キロバイト)として編成されており、信頼性が高く頼りになる不揮発性メモリストレージが不可欠の民生および工業アプリケーションでの使用を目的に最適化されています。24CS512によって、最大8台のデバイスで共通のI2C(2線式)バスを共有することが可能になり、幅広い電圧範囲(1.7V~5.5V)で動作できます。特徴
- 512-KビットEEPROM
- 1つの65,536 x 8ビットブロックとして内部構成済
- 最大128バイトのバイトまたはページ書き込み
- ブロック内のバイトまたはシーケンシャルリード
- セルフタイム式書き込みサイクル(最長5 ms)
- 高速I2Cインターフェイス
- 3.4 MHzの高速モードサポート
- 業界スタンダード: 1MHz、400kHz、100kHz
- グラウンドバウンスを排除する出力スロープ制御
- ノイズ抑制用シュミットトリガ入力
- セキュリティレジスタ
- プログラミング済の128ビットシリアル番号
- ユーザープログラマブル、ロック可能128バイトIDページ
- 内蔵エラー補正コード(ECC)ロジック
- 構成レジスタ経由のECCステータスビット
- I2Cメーカー識別機能サポート
- 多目的データ保護オプション
- 完全アレイデータ保護を目的としたハードウェア書き込み保護(WP)ピン
- 構成レジスタ経由の強化されたソフトウェア書き込み保護
- 1.7V~5.5Vの動作電圧範囲
- 低消費電力CMOS技術
- 5.5Vで最大3.0mAの書き込み電流
- 5.5V、1MHzで最大1.0mAの読み込み電流
- 5.5Vで待機電流1µA
- 高信頼性
- 1万回以上の消去/書込サイクル
- 信頼性向上のための内蔵ECCロジック
- データ保持期間: 200年以上
- ESD保護: 4000V以上
- RoHS準拠
- 温度範囲
- 工業用(I): -40°C~+85°C
シリアルEEPROMを使用したシステム構成
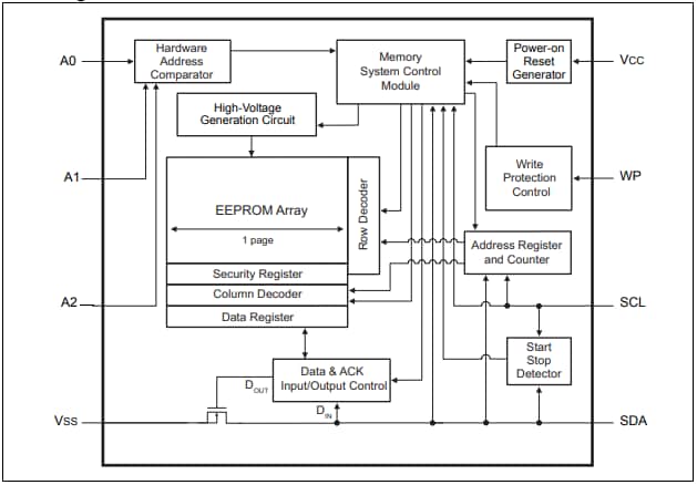
ブロック図
評価ボード
ビデオ
公開: 2021-02-18
| 更新済み: 2022-03-11
