EMC18xx温度センサは、抵抗エラー訂正(REC)、ベータ補償(BJT/トランジスタ・モデルを必要とするCPUダイオードをサポート)、温度変化測定のレートが特徴です。最大5つの温度チャンネルの監視とともに、EMC18xxは、これらの機能を組み合わせて複雑な環境監視アプリケーション向けの堅牢なソリューションを実現しています。
特徴
- プリエンプティブアラート制限を活用した温度変化率の計算を計測します。
- 最大4台の外部温度モニタ:
- 8リードデバイス: ±1°C最高精度(-20°C~+105°C TA、-40°C~+125°C TD)
- ±1.5°C最高精度(-40°C~+125°C TA、-40°C~+125°C TD)
- 10リードデバイス: ±1°C最高精度(-20°C~+125°C TA、-40°C~+125°C TD)
- ±1.5°C最高精度(-40°C~+125°C TA、-40°C~+125°C TD)
- 内部温度センサ:
- ±1°C最高精度、-40°C~+125°C
- 内部温度センサ:
- ±1°C最高精度、-40°C~+125°C
- 8リードデバイス: ±1°C最高精度(-20°C~+105°C TA、-40°C~+125°C TD)
- 温度センサの解像度(内部/外部): 0.125°C
- レジスタプログラマブルシステムシャットダウン温度
- 構成可能なアラート・ピン
- 動作電圧: 1.62V~3.6V
- 温度範囲: -40°C~+125°C
- 他の機能
- 自動ベータ補正
- 構成可能な理想係数
- 最もホットなダイオードの比較
- 抵抗誤差補正
- 8リード2x2mm WDFNおよび10リード2.5x2.0mm VDFNパッケージでご用意あり
アプリケーション
- 温度が重視されるストレージ
- 産業用
- 低システム電圧向けのIoT
- 携帯用電子機器
- ハンドヘルド・ゲーム機
- 計算
- 食料貯蔵庫
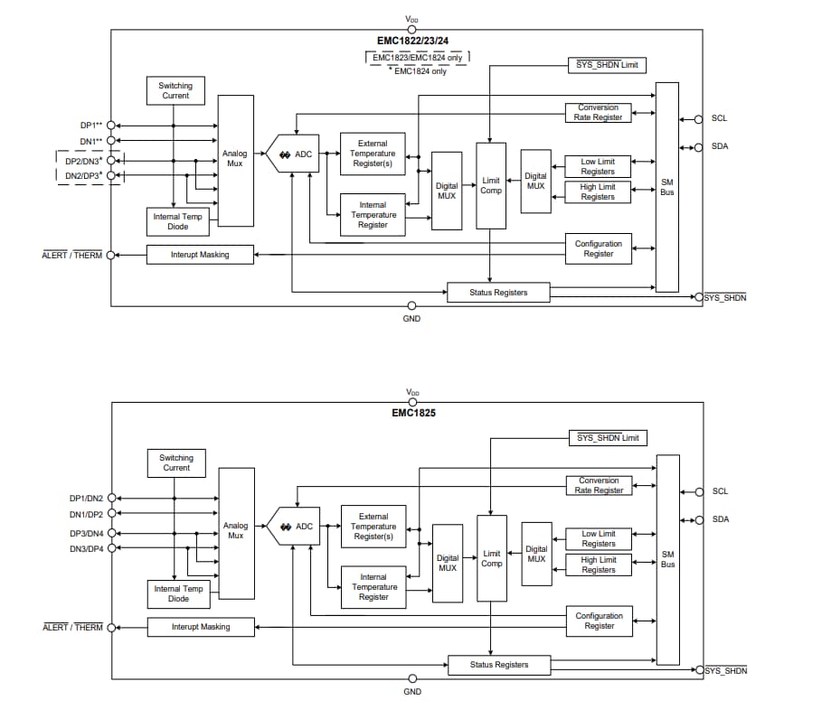
システム図
ブロック図
公開: 2019-08-13
| 更新済み: 2023-06-05

