Texas Instruments TPS2411EVM-096評価モジュール

Texas Instruments TPS2411EVM-096評価モジュールを使用すると、TPS2411 O-Ringパワーレールコントローラのリファレンス回路評価が可能になります。TPS2411は、外部NチャンネルMOSFETと連動して低順方向電圧ダイオードの機能をエミュレートします。TPS2411EVM-096評価モジュールには、動作状態と障害状態の表示を実現できるオンボードLEDが搭載されています。

特徴

  • 0.8V~16.5VのデュアルチャンネルORing制御
  • 双方向阻止を目的としたスタンダードのO-ring構成およびバックバックMOSFET動作にも対応
  • プログラマブル過電圧カットオフおよび不足電圧
  • 動作状態および障害状態表示を実現しているオンボードLED

レイアウト

Texas Instruments TPS2411EVM-096評価モジュール

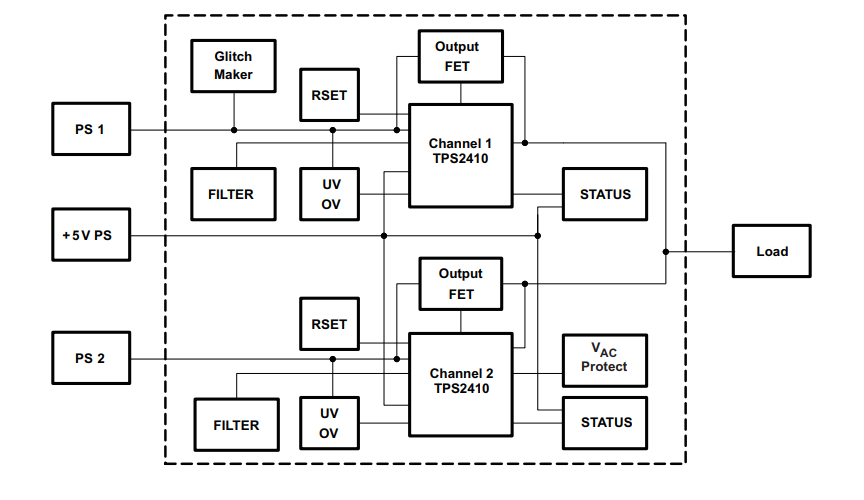
ブロック図

ブロック図 - Texas Instruments TPS2411EVM-096評価モジュール
公開: 2019-10-25 | 更新済み: 2024-01-12