Texas Instruments TDC7201タイムツーデジタルコンバータ
Texas Instruments TDC 7201タイムツーデジタルコンバータは、タイムオブフライト型技術を使用した超音波、レーザー、レーダー測距装置との併用を目的に設計されています。TDC7201には、2つの時間/デジタルコンバータ(TDC)が内蔵され、単純なアーキテクチャで4cmから数kmまでの距離を測定できます。この機能によって、高価なFPGAやプロセッサを必要としません。各TDCはストップウォッチの機能を果たし、STARTパルスから、最大5つのSTOPパルスまでの経過時間(タイム・オブ・フライト、TOF)を測定します。2つの内蔵TDCを使用して、STARTおよびSTOPピンの2つのペアを同時に、かつ個別に測定できるため、時間測定について非常に柔軟な設計が可能になります。このデバイスには内部的に自己較正された時間ベースが搭載されており、時間や温度によるドリフトを補償します。自己較正によって、タイムツーデジタルへの変換の精度をピコ秒レベルで実現させます。この精度によって、TDC7201はレンジファインダーアプリケションに最適です。特徴
- 分解能: 55ps
- 標準偏差: 35ps
- 計測範囲:
- 個々のモード1: 12ns~2000ns
- 個別モード2: 250ns~8ms
- 複合動作: 0.25ns~8ms
- 低アクティブ消費電力: 2.7mA
- 最大10のストップ信号に対応
- 低消費電力を実現する自律的マルチサイクル平均化モード
- 供給電圧: 2V~3.6V
- 動作温度: –40°C~+85°C
- レジスタ・アクセス用のSPIインターフェイス
アプリケーション
- 測距器
- LIDAR
- ドローンとロボティクス
- 先進運転支援システム(ADAS)
- 衝突検出システム
- 流量計
Additional Resources
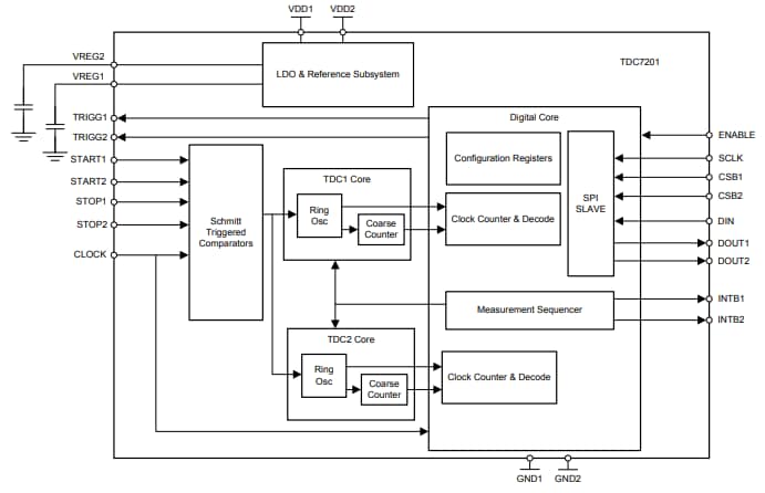
機能ブロック図
公開: 2016-10-19
| 更新済み: 2024-09-17
